全国统一咨询电话:
18205282330
0511-80306784
sales@taipingzhou.com
海纳首页
集团概况
产品大全
工程业绩
企业荣誉
技术交流
业务联络
仪表管件
仪表阀门
仪表管
仪表自控附件
防爆电器
电缆桥架
成套电气、母线
光伏支架
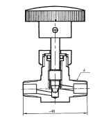
YZ7-1(SQJ-1)型气动管路截止阀